AG真人官方下载


欢迎您访问洛阳AG真人轴承科技有限公司网站!
全国咨询热线: 18837917076 网站地图

产品展示

等截面薄壁轴承

英制等截面薄壁四点接触球轴承

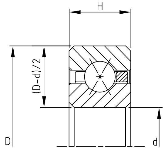
X型四点角接触球轴承与A、C型轴承的区别在于其滚珠沟槽的形状。深沟槽深度与四点接触结构使轴承能够承受径向、轴向载荷以及扭矩载荷。类似于一对A型轴承的背对背组合。
品牌: 滚道形状:
在线咨询 18837917076
产品详情

英制等截面薄壁四点接触球轴承
      X型四点角接触球轴承与A、C型轴承的区别在于其滚珠沟槽的形状。深沟槽深度与四点接触结构使轴承能够承受径向、轴向载荷以及扭矩载荷。类似于一对A型轴承的背对背组合。

英制四点接触球轴承.png

1.png

2.png

3.png

4.png

5.png

6.png

7.png

【网站地图】【sitemap】